Solutions
Horse Construction offers full range of structural strengthening materials with technical supports, documentation supports, products supports, project supports.
Strengthening Concrete and Masonry Structures With FRP
Project Overview
A four-star hotel in a certain city was built in the 1950s and designed by Soviet experts. It is a brick-concrete structure with 7 floors. It was designed without seismic fortification. In April 2006, the structure was strengthened against earthquakes and the internal layout of the hotel building was adjusted. Part of the load-bearing walls needed to be removed and the corresponding ring beams needed to be reinforced. The thickness of the stairs in this project is mostly 60mm, and the steel bars are configured as a single layer with a spacing of 300mm. At the same time, the construction of the project is relatively early and has reached its service life. After program demonstration and economic and technical feasibility comparison, it was decided to use FRP for beams strengthening.
Material characteristics
HM 12K 200gsm unidirectional carbon fiber fabric
Weight: 200g/sqm
Thickness: 0.111mm
Density: 1.8g/cm³
Direction: unidirectional
Packing: 100 meters/roll
Width: 100mm, 200mm, 300mm, 500mm or to be customized
strengthening design
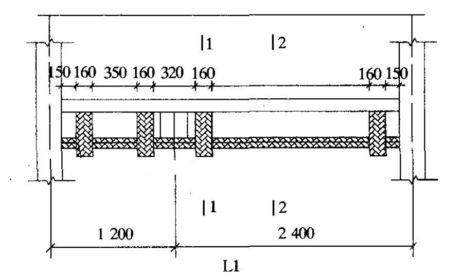
After calculation by the design unit and considering the actual situation of the project, in order to strengthen the anchoring of the FRP wrap at the bottom of the beam and increase the shear resistance of the beam, a 180mm wide U-shaped hoop was pasted on each side of the beam end. Paste a 180mm wide U-shaped hoop on each side of the intersection of the primary and secondary beams, as shown in Figure 1.


strengthening construction with FRP
Unloading-bottom layer treatment-bottom layer resin coating-leveling construction surface-pasting FRP wrap-surface protection and decoration. Considering the actual situation of the project, unloading should be carried out during the strengthening, and the structural roof and beam should be supported. When strengthening, start from the first floor, clean up all the debris on the upper floor surface, remove all the decorative surface of the beam side, polish it, and clean it to the base of the structure. After the first floor is reinforced, proceed to the next floor.
Construction effect with FRP
The project was completed in October 2006, and the FRP strengthening part has a construction period of 25 days. After completion, the hotel has been receiving guests and has been operating normally for more than 5 years without any quality problems. In addition, the FRP strengthening has good construction effect, simple operation and short construction period, and has been well received by design units, supervision units and owners.
You can find anything here you are in need of, have a trust trying on these products, you will find the big difference after that.
High strength carbon fiber reinforced polymer (CFRP) strip / laminate / plate for structural strengthening and concrete repair
High strength, unidirectional carbon fiber fabric pre-saturated to form a carbon fiber reinforced polymer (CFRP) fabric used to strengthen structural concrete elements.
High strength, unidirectional carbon fiber sheet pre-saturated to form a carbon fiber reinforced polymer (CFRP) sheet used to strengthen structural concrete elements.